表紙を表示する

 問  題   解  答   解  説 

第1問

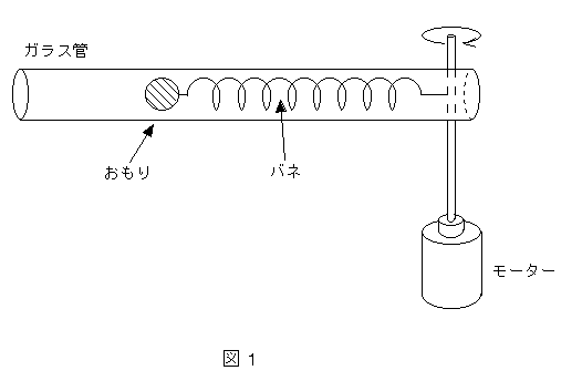
 図1のように、細長いガラス管の中に、一端が固定され、他端に質量mの小さなおもりが取り付けられた軽いバネ(バネ定数k、自然長l )がある。おもりは、ガラス管に沿ってなめらかに動ける。ガラス管は、モーターの力によって、バネの固定端を通る軸を中心に、水平面内を任意の角速度で回転させることができる。以下の設問に答えよ。結果だけでなく、途中の計算や考え方も記せ。


  1. ガラス管とおもりが静止していた状態から、モーターの力でゆるやかにガラス管を回し始め、わずかずつ角速度を増加させたところ、おもりの位置がゆっくりと移動していった。角速度がωになったとき、モーターの回転を一定にした。
    1. 角速度ωの回転をしているとき、おもりから中心までの距離はいくらか。
    2. こうした運動が実現されるためには、ωがある値以下でなければならない。この値を求めよ。また、角速度がこの値に近づくとどのような現象が起きるかを述べよ。
    3. モーターの回転数を瞬間的に切り替えて、角速度をωから1/2ωに変化させたところ、おもりがガラス管の内部で振動を始めた。この振動をガラス管内部から見たときの振動数を求めよ。
     次に、ガラス管が回転する領域に、鉛直上向きに磁束密度B(>0)の磁界を加え、おもりをq(>0)に帯電させて、実験を行った。ただし、ガラス管やバネは絶縁材でできており、ガラス管の回転は磁界を乱さないものとする。
  2. はじめの実験と同様に、ガラス管とおもりが静止していた状態から、上から見て右回りにガラス管を回転させ始め、角速度を少しずつ増加させていった。
    1. 角速度がωのとき、おもりから中心までの距離はいくらか。
    2. ガラス管が角速度ωで回転している途中で、モーターの回転を停止してガラス管の回転を急に止めたところ、ガラス管内でおもりが振動を始めた。このとき、おもりは、静止しているガラス管にトルク(回転軸の回りの力のモーメント)を与える。バネが自然長になった瞬間のトルクの大きさを求めよ。
    3. 回転しているガラス管を急停止すると、一般におもりは振動を始めるが、停止前の角速度がある値のときは振動が起きない。この値を求めよ。
todai98_fig1.gif



第2問

 図2のように、内側の底面が面積Sの正方形、高さがd(ただし、dは√Sより充分小さい)になっている直方体形の2つの容器A,Bが、底面が同じ水平面内に位置するように置かれており、それぞれの底はコックの付いた細管でつながれている。容器Aの正方形の2つの面は金属でできており、平行板コンデンサーをなしているが、他の部分は絶縁材で作られている。


 はじめ、コックは閉じられており、A,Bともに、同一の液体が高さhまで入っていた。この状態で、AのコンデンサーをQに帯電させた。電界は常に極板に垂直になり、コンデンサーの端や液面、細管周辺での電界の乱れはないものとする。空気の誘電率をε、液体の誘電率をε(>ε)、液体の密度をρ、重力加速度をgとして、以下の問いに答えよ。


  1. コックが閉じられているとき、Aのコンデンサーの電気容量を求めよ。
  2. ここで、コックを開いたところ、液体がBからAへ流れ込んだ。しばらく時間が経過した後には、Aの液面が、コックを開く前と比べてxだけ高くなって静止していた。
    1. この過程を通じて、コンデンサーに蓄えられている静電エネルギーUEはどれだけ変化したか。変化分ΔUEを、xを用いて表せ。
    2. 同じく、重力による液体の位置エネルギーの変化分ΔUGを求めよ。
    3. ΔUE+ΔUGをxの関数と見たときのグラフの概形を描き、系が最終的に到達した状態に相当するグラフ上の点を黒丸で示せ。また、液体が静止した位置xの値を求めよ。
    4. この過程では、ΔUE+ΔUGは0になっていない。エネルギーの変化がどうして生じたかを説明せよ。
  3. 次に、コックを開いた状態で、Aのコンデンサーに可変直流電源を直列に接続した。ただし、電源電圧は充分に時間をかけて調節し、液体の移動はゆっくりと行われる。このとき、電源電圧は、コンデンサーに蓄えられる電荷の3次関数になることを示せ。

todai98_fig2.gif



第3問

 図3のように、軸が鉛直方向を向いている底面積がSのシリンダーに、なめらかに動く軽い(質量が無視できる)ピストンがはめ込まれており、1モルの単原子分子理想気体が封入されている。ピストンの外部からは、常に一定の大気圧Pが加わっている。また、底部からLの位置にストッパーが取り付けられていて、ピストンはそれより下に動くことはできない。シリンダーとピストンは断熱材製だが、シリンダー内の気体は、ヒーターに通電することによって加熱できる。また、底部に取り付けられた薄い断熱板を取り外すと、気体は、常に温度Tに保たれている熱浴と接触する。ピストンの上方には、バネ定数kの軽いバネが天井からつり下げられている。気体定数をR、重力加速度をgとする。

 この装置を使って、気体を次のように変化させた。

(1)はじめ、ピストンの上には質量mの小さなおもり(バネにつり下げられるようにフックが付いている)が載せられていた。断熱板をはずして気体を熱浴と接触させたところ、充分な時間が経過した後には、ピストンはストッパーの上に乗った状態で静止していた。この状態を、状態aとする。
(2)次に、断熱板を挿入して熱浴を気体から遮断した後、ヒーターに通電すると、内部の気体はしだいに加熱され、ある瞬間からゆっくりと動き始めた。動き始める瞬間の気体の状態を状態bとする。
(3)さらに加熱を続けると、ピストンがストッパーからlだけ上昇したときに、おもりのフックとバネの先端が同じ位置になった。ここで加熱を止め、ピストンに力を加えないようにしながら、おもりをバネに引っかけた。このときの気体の状態を状態cとする。
(4)再び断熱板を取り外して気体を熱浴に接触させたところ、ピストンはゆっくりと下がり始めた。充分な時間が経過した後には、ピストンはストッパーの上に乗った状態で静止していた。このときの気体の状態を状態dとする。

  1. (4)の過程では、kの範囲によって、途中でおもりがピストンから離れるか、最後まで接触しているかが分かれる。kがどのような範囲にあるときに、最終的なバネの伸びがいくらになるかを求めよ。
  2. 次の各量を求めよ。
    1. 状態aから状態bに変化する過程で気体が吸収した熱量
    2. 状態cでの気体の内部エネルギー
    3. (4)の過程で、バネの伸びがxで、おもりとピストンが接触しているときの気体の圧力
  3. (1)から(4)の過程における気体の状態変化をpV図(縦軸が圧力、横軸が体積のグラフ)で表せ。kの範囲によってグラフの形状が異なるときは、それぞれの場合について描け。
  4. 気体が状態aから状態dに変化するまでの間に、外部(大気+バネ+おもり)に対してした仕事を、kの関数として表せ。kの範囲によって関数形が異なるときは、場合分けせよ。
todai98_fig3.gif


©Nobuo YOSHIDA